LR Baggs Para DI - lack of earth lift problem
Forum rules
For all tech discussions relating to Guitars, Basses, Amps, Pedals & Guitar Accessories.
For all tech discussions relating to Guitars, Basses, Amps, Pedals & Guitar Accessories.
LR Baggs Para DI - lack of earth lift problem
Hi folks,
Got a conundrum I wondered if anyone could help me with.
I have an LR Baggs Para DI box that I use with my acoustic. I also use a Strat that has a Fishman Powerbridge fitted. I was hoping to use the Para DI for both guitars by just changing the inputs over as needed. However, when I use the Strat I seem to get ground hum, which can usually be eliminated with a normal DI box that has a ground lift switch, but of course the Para DI doesn't have one!
The only option I can think of is to use my old Fishman Pro EQ II for the acoustic side of the Strat, into a DI box with an earth lift. This is a shame as the LR Bags DI sounds so much better.
Any other suggestions?
Got a conundrum I wondered if anyone could help me with.
I have an LR Baggs Para DI box that I use with my acoustic. I also use a Strat that has a Fishman Powerbridge fitted. I was hoping to use the Para DI for both guitars by just changing the inputs over as needed. However, when I use the Strat I seem to get ground hum, which can usually be eliminated with a normal DI box that has a ground lift switch, but of course the Para DI doesn't have one!
The only option I can think of is to use my old Fishman Pro EQ II for the acoustic side of the Strat, into a DI box with an earth lift. This is a shame as the LR Bags DI sounds so much better.
Any other suggestions?
Re: LR Baggs Para DI - lack of earth lift problem
A guitar in isolation cannot, by definition create a hum/ground loop.
You DO know that Strats and most single coil pup' guitars are noisy beasts?
You can simulate a ground lift from the DI XLR by making up a lead with the shield disconnected at the box end. This assumes the DI box is not phantom powered? In which case you are jiggered!
If indeed you are creating a loop, two items must be linked that go to separately earthed equipments, break the earth in THAT link. Best way is a 1:1 transformer but a "screened one end" lead will do the job. Remember to mark up any such non-standard leads.(best way for XLR is to make up a "special" 300mm male-female "stub")
......DO NOT UNDER ANY CIRCUMSTANCES BREAK ANY MAINS EARTHS!!!
Dave.
You DO know that Strats and most single coil pup' guitars are noisy beasts?
You can simulate a ground lift from the DI XLR by making up a lead with the shield disconnected at the box end. This assumes the DI box is not phantom powered? In which case you are jiggered!
If indeed you are creating a loop, two items must be linked that go to separately earthed equipments, break the earth in THAT link. Best way is a 1:1 transformer but a "screened one end" lead will do the job. Remember to mark up any such non-standard leads.(best way for XLR is to make up a "special" 300mm male-female "stub")
......DO NOT UNDER ANY CIRCUMSTANCES BREAK ANY MAINS EARTHS!!!
Dave.
#They did not listen, they are not listening still...Perhaps they never will?#
Re: LR Baggs Para DI - lack of earth lift problem
Just found that DI on Google.
Looks good but how could they have missed fitting a ground lift switch?
They boast of "studio" quality, well in the rats nest of most studio setups an earth lift must be regarded as essential I would say, over and above many other bells and whistles.
Pretty easy to fit/get fitted but as I said before you loose spook power. Then I suppose the switch does not HAVE to be in the XLR line but that would depend on the particular setup you are using. If you are thinking of trying some re-amping, the Art Cleanbox One (not two) will do for both jobs....Never ends this GAS malarkey does it?!
Dave.
Looks good but how could they have missed fitting a ground lift switch?
They boast of "studio" quality, well in the rats nest of most studio setups an earth lift must be regarded as essential I would say, over and above many other bells and whistles.
Pretty easy to fit/get fitted but as I said before you loose spook power. Then I suppose the switch does not HAVE to be in the XLR line but that would depend on the particular setup you are using. If you are thinking of trying some re-amping, the Art Cleanbox One (not two) will do for both jobs....Never ends this GAS malarkey does it?!
Dave.
#They did not listen, they are not listening still...Perhaps they never will?#
Re: LR Baggs Para DI - lack of earth lift problem
I've got one too, and i can testify that its proper shame that they left out ground lift. A great box - but at times unusable.
2 things would make this box outstanding: a ground lift switch, and a footswitch for the effects loop!
2 things would make this box outstanding: a ground lift switch, and a footswitch for the effects loop!
Re: LR Baggs Para DI - lack of earth lift problem
If it has a transformer output then it would be trivial to fit a small switch and a suitable tie-down network to provide the conventional earth lift facility.
However, I note that it is designed to be phantom powered (although it can run on an internal 9V battery), which makes a ground lift slightly harder to deal with.
I also get the impression that it may not have a transformer output at all -- there seem to be hints that it is an actively driven output, and that also makes including a ground lift tricky.
Hugh
However, I note that it is designed to be phantom powered (although it can run on an internal 9V battery), which makes a ground lift slightly harder to deal with.
I also get the impression that it may not have a transformer output at all -- there seem to be hints that it is an actively driven output, and that also makes including a ground lift tricky.
Hugh
Last edited by Hugh Robjohns on Mon Feb 11, 2019 12:40 pm, edited 1 time in total.
- Hugh Robjohns
Moderator -
Posts: 43691 Joined: Fri Jul 25, 2003 12:00 am
Location: Worcestershire, UK
Contact:
Technical Editor, Sound On Sound...
(But generally posting my own personal views and not necessarily those of SOS, the company or the magazine!)
In my world, things get less strange when I read the manual...
(But generally posting my own personal views and not necessarily those of SOS, the company or the magazine!)
In my world, things get less strange when I read the manual...
Re: LR Baggs Para DI - lack of earth lift problem
Not sure what drives the output - they are a bit woolly in the description / specs.
I bodged mine to run off my pedal power 2, which also powers the other effects in the loop, so lack of phantom power is not a problem for me. Needless to say that didn't solve the ground loop issues. Do you think a cable with the ground lifted is a good way to go here? That certainly would be the easy option.
I bodged mine to run off my pedal power 2, which also powers the other effects in the loop, so lack of phantom power is not a problem for me. Needless to say that didn't solve the ground loop issues. Do you think a cable with the ground lifted is a good way to go here? That certainly would be the easy option.
Re: LR Baggs Para DI - lack of earth lift problem
If you don't need phantom and the output is feeding a balanced input, then yes. It's quick and simple to try out and if the problem is down to a ground loop, cutting the screen will cure it.
I'd recommend cutting at the destination end of the cable. And ideally, the cut screen should be reconnected to pin 1 via a 100 ohm resistor with a 0.1uF capacitor in parallel. This isn't critical, but is a good idea...
Hugh
I'd recommend cutting at the destination end of the cable. And ideally, the cut screen should be reconnected to pin 1 via a 100 ohm resistor with a 0.1uF capacitor in parallel. This isn't critical, but is a good idea...
Hugh
- Hugh Robjohns
Moderator -
Posts: 43691 Joined: Fri Jul 25, 2003 12:00 am
Location: Worcestershire, UK
Contact:
Technical Editor, Sound On Sound...
(But generally posting my own personal views and not necessarily those of SOS, the company or the magazine!)
In my world, things get less strange when I read the manual...
(But generally posting my own personal views and not necessarily those of SOS, the company or the magazine!)
In my world, things get less strange when I read the manual...
Re: LR Baggs Para DI - lack of earth lift problem
The ground lift switch would need delving inside to do but you can buy or build a simple A/B switch box for the FX loop.
Err...Actually! If the earth issue is in the XLR line just make up a shield disse'd stub.
Dave.
Err...Actually! If the earth issue is in the XLR line just make up a shield disse'd stub.
Dave.
#They did not listen, they are not listening still...Perhaps they never will?#
Re: LR Baggs Para DI - lack of earth lift problem
Thanks for your thoughts on this issue guys.Sorry for the late response but I have been away.
Just as an addition let me tell you how I have this wired.
The stereo lead coming out of the Strat terminates at a male XLR connector, this then connects to a female XLR. Inside the female connector is where the signal split takes place, via 2 lengths of finer screened patch cable to two jacks, both having their screens connected to the earth terminal on the XLR. One jack then goes into the DI for the acoustic pick up and the other into my pedalboard and onto the amp.
Please let me know if there is a better way of doing that?
Just as an addition let me tell you how I have this wired.
The stereo lead coming out of the Strat terminates at a male XLR connector, this then connects to a female XLR. Inside the female connector is where the signal split takes place, via 2 lengths of finer screened patch cable to two jacks, both having their screens connected to the earth terminal on the XLR. One jack then goes into the DI for the acoustic pick up and the other into my pedalboard and onto the amp.
Please let me know if there is a better way of doing that?
Re: LR Baggs Para DI - lack of earth lift problem
"Anyone? "
No one! The reason being I think Jeb is that we are all totally confused by your connection regime. For starters, Hin H do you get a "stereo output from a Strat on XLR"???
Strats are TS to TS lead into the box; Start from that!
Dave.
No one! The reason being I think Jeb is that we are all totally confused by your connection regime. For starters, Hin H do you get a "stereo output from a Strat on XLR"???
Strats are TS to TS lead into the box; Start from that!
Dave.
#They did not listen, they are not listening still...Perhaps they never will?#
Re: LR Baggs Para DI - lack of earth lift problem
If you read the original post you'll see that the Strat is fitted with a Powerbridge .
This then goes to an onboard pre-amp and wired to a stereo output socket along with the magnetic pickup signal. The signal from the Powerbridge then goes into a DI box and the signal from the magnetic pick-ups goes into the amp, via a stereo lead that splits.
This then goes to an onboard pre-amp and wired to a stereo output socket along with the magnetic pickup signal. The signal from the Powerbridge then goes into a DI box and the signal from the magnetic pick-ups goes into the amp, via a stereo lead that splits.
Re: LR Baggs Para DI - lack of earth lift problem
Ah! My apologies!
Can I assume your setup is akin to the right hand diagram in page 5 of the user manual?
I would lift the earth on the lead feeding the amplifier. No need to butcher it, just wire the hot(tip) only side of two jack sockets together and use a second standard lead. If that sorts it put the jacks in a tin and earth the tin to the amp feed jack and couple the sleeve of the other via a 1nF capacitor or thereabouts.
Dave.
Can I assume your setup is akin to the right hand diagram in page 5 of the user manual?
I would lift the earth on the lead feeding the amplifier. No need to butcher it, just wire the hot(tip) only side of two jack sockets together and use a second standard lead. If that sorts it put the jacks in a tin and earth the tin to the amp feed jack and couple the sleeve of the other via a 1nF capacitor or thereabouts.
Dave.
#They did not listen, they are not listening still...Perhaps they never will?#
Re: LR Baggs Para DI - lack of earth lift problem
Thanks for that Dave.
Yes, exactly like that. You lost me at
I am handy with the old soldering iron so that's no problem but if you can clarify for me the above statement i'll give it a go.
Yes, exactly like that. You lost me at
earth the tin to the amp feed jack and couple the sleeve of the other via a 1nF capacitor or thereabouts.
I am handy with the old soldering iron so that's no problem but if you can clarify for me the above statement i'll give it a go.
Re: LR Baggs Para DI - lack of earth lift problem
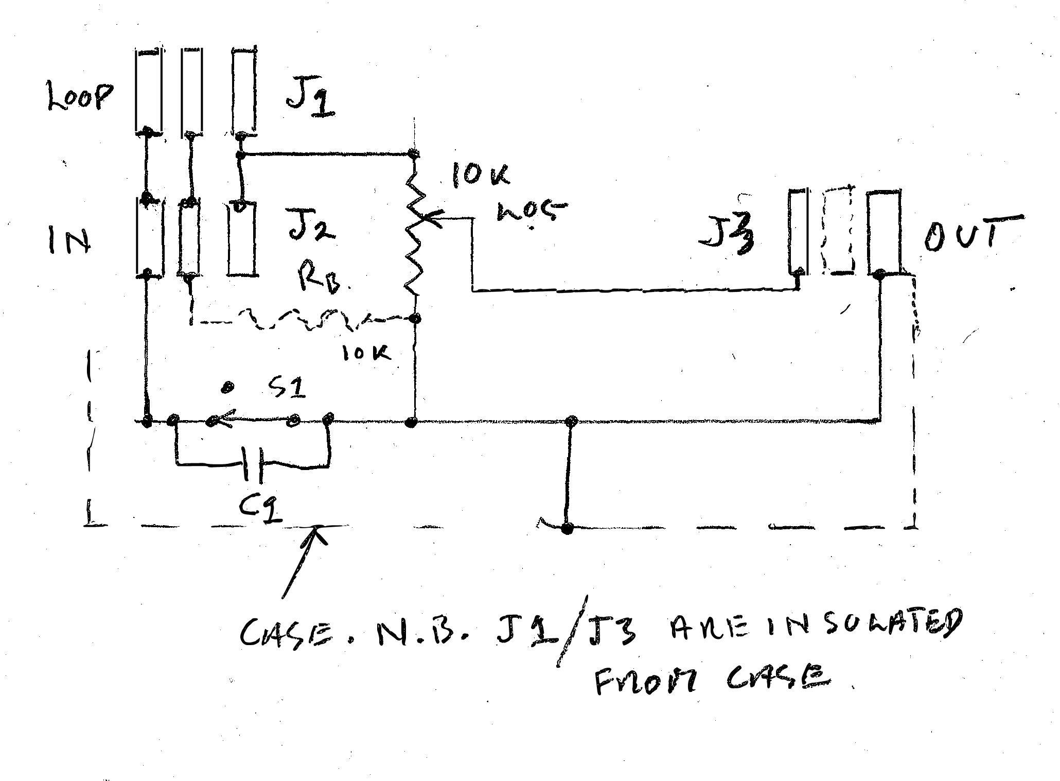
If I could add an attachement I could give you a drawing and a schematic but sadly not possible on THIS forum AFAIK!
You can Email me via pm.
Dave.
You can Email me via pm.
Dave.
#They did not listen, they are not listening still...Perhaps they never will?#
Re: LR Baggs Para DI - lack of earth lift problem - SOLVED
Well folks, I would like to thank Dave for his 'Earth Lift Box' schematic. It works a treat.
I did find it only worked when used before the LR Baggs DI rather than before the amp as suggested, but that's where the earth lift would normally be anyway I suppose.
Nice one Dave
I did find it only worked when used before the LR Baggs DI rather than before the amp as suggested, but that's where the earth lift would normally be anyway I suppose.
Nice one Dave
Re: LR Baggs Para DI - lack of earth lift problem
Hey Folks,
I got the same humming problem with the L.R. Baggs Para DI here.
Even though this conversation is 7 years old. Could one of you send me that schematic?
Thanks in advance!
Isaac
I got the same humming problem with the L.R. Baggs Para DI here.
Even though this conversation is 7 years old. Could one of you send me that schematic?
Thanks in advance!
Isaac
-
- eisich.winter
- Posts: 1 Joined: Thu Jan 11, 2018 10:45 am
Re: LR Baggs Para DI - lack of earth lift problem
eisich.winter wrote:Hey Folks,
I got the same humming problem with the L.R. Baggs Para DI here.
Even though this conversation is 7 years old. Could one of you send me that schematic?
Thanks in advance!
Isaac
Yes, PM me and we will go from there.
Dave.
Re: LR Baggs Para DI - lack of earth lift problem
Hi everyone,
i'm Lucas and i'm writting from Chile! Well... i've arrived here looking after a solution to the same issue.
Apperently, I can't send PM since i'm a new user (i think...) is there a way that you could share the schematic trough mail?
Best regards!
i'm Lucas and i'm writting from Chile! Well... i've arrived here looking after a solution to the same issue.
Apperently, I can't send PM since i'm a new user (i think...) is there a way that you could share the schematic trough mail?
Best regards!
Last edited by Hugh Robjohns on Mon Feb 11, 2019 12:42 pm, edited 1 time in total.
Re: LR Baggs Para DI - lack of earth lift problem
Welcome to the forums -- and yes, the PM system is inhibited for newcomers until they've reached more than three posts.
I've removed your email address from the post above to prevent the spambots harvesting it.
Dave -- if you email the schematic direct to me I'll embed it in the forum thread for all to see for posterity.
H
I've removed your email address from the post above to prevent the spambots harvesting it.
Dave -- if you email the schematic direct to me I'll embed it in the forum thread for all to see for posterity.
H
- Hugh Robjohns
Moderator -
Posts: 43691 Joined: Fri Jul 25, 2003 12:00 am
Location: Worcestershire, UK
Contact:
Technical Editor, Sound On Sound...
(But generally posting my own personal views and not necessarily those of SOS, the company or the magazine!)
In my world, things get less strange when I read the manual...
(But generally posting my own personal views and not necessarily those of SOS, the company or the magazine!)
In my world, things get less strange when I read the manual...
Re: LR Baggs Para DI - lack of earth lift problem
Here is a schematic for Dave's ground lifting box with adjustable output level:
And here's the original:
And here's the original:
Last edited by Hugh Robjohns on Wed Feb 13, 2019 1:14 pm, edited 3 times in total.
- Hugh Robjohns
Moderator -
Posts: 43691 Joined: Fri Jul 25, 2003 12:00 am
Location: Worcestershire, UK
Contact:
Technical Editor, Sound On Sound...
(But generally posting my own personal views and not necessarily those of SOS, the company or the magazine!)
In my world, things get less strange when I read the manual...
(But generally posting my own personal views and not necessarily those of SOS, the company or the magazine!)
In my world, things get less strange when I read the manual...
Re: LR Baggs Para DI - lack of earth lift problem
I'd use plastic jack TRS sockets for 'in' and 'loop'. Probably easiest to use a guitar all-metal type TS jack socket for the 'out', as it saves having to make a separate ground connection to the case (which should be metal, not plastic, for shielding purposes).
Reliably fallible.
Re: LR Baggs Para DI - lack of earth lift problem
Wonks wrote:I'd use plastic jack TRS sockets for 'in' and 'loop'. Probably easiest to use a guitar all-metal type TS jack socket for the 'out', as it saves having to make a separate ground connection to the case (which should be metal, not plastic, for shielding purposes).
Wonks, I loathe and detest those "bent tin, horrible imerican" jacks! Because of that I never consider telling people to use anything other than plastic!
Well poshed up Hugh, ta!
Dave.
Re: LR Baggs Para DI - lack of earth lift problem
Well, considering that's what's in almost all electric guitars (either that or the much more failure prone barrel jack socket), and that a good Switchcraft jack socket will happily last 30 years plus, I don't see what you can really have against them.
Reliably fallible.